Samsung розробляє систему керування жестами для Galaxy Ring

Компанія Samsung запатентувала нову технологію, що дозволяє керувати ноутбуком або планшетом за допомогою жестів, впроваджених у розумне кільце Galaxy Ring.
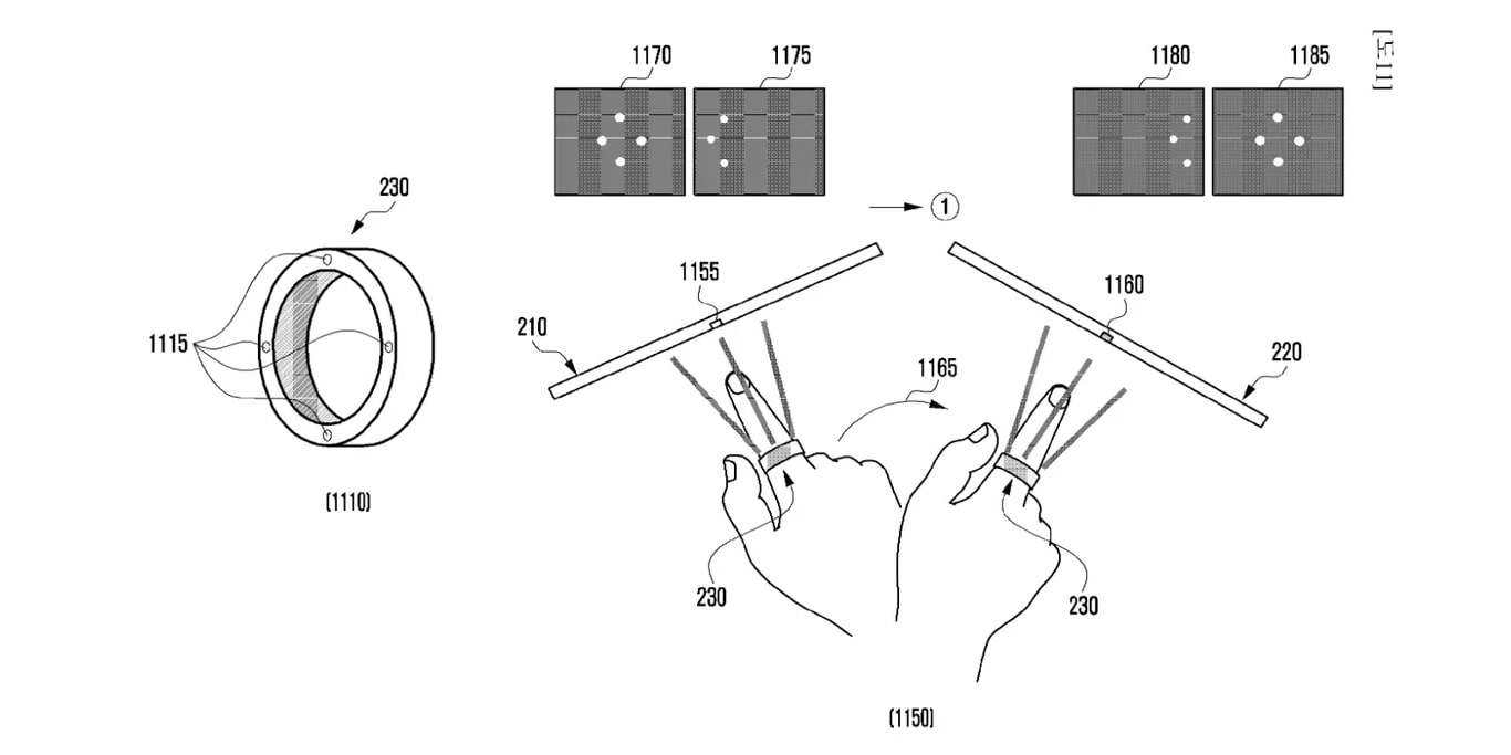
У майбутньому користувачі зможуть переміщати вікна, керувати дисплеєм та взаємодіяти з пристроями без дотиків — як Тоні Старк у «Залізній людині».
Патент описує розумне кільце, яке підключається до кількох пристроїв одночасно та визначає їхнє розташування щодо користувача. Це дозволить перетягувати вікна між екраном ноутбука та планшета, керувати елементами інтерфейсу та виконувати інші дії, аналогічні функції Universal Control від Apple.
На схематичних зображеннях патенті видно, що система може використовувати камери ноутбука і планшета для відстеження жестів кільця. Крім того, Samsung може інтегрувати підтримку стилуса S Pen для більш точної взаємодії з контентом.
Це вже не перший подібний патент компанії. У січні стало відомо, що Samsung розробляє технологію управління жестами для смарт-годинників, що дозволяє перемикати канали та регулювати гучність на телевізорі.
Наразі невідомо, коли нова функція з'явиться у комерційних пристроях. Однак патент вказує на серйозні плани Samsung щодо впровадження жестового керування у свою екосистему.
Джерело: techradar
Патенти




