Apple навчить AirPods відстежувати мозкові хвилі користувачів
Ідеться про можливість зняття ЕЕГ прямо через гарнітуру без використання громіздкого медичного обладнання.
Згідно з публікацією, Apple розробила метод навчання, що дозволяє нейромережі вивчати активність мозку на основі «сирих» даних. Цей метод діагностики відрізняється від традиційних, у яких використовуються «розмічені» набори даних: наприклад, заздалегідь вказується, за яких показників мозкових хвиль людина знаходиться у швидкій фазі сну і так далі.
Новий метод називається PAirwise Relative Shift (PARS). З його допомогою нейромережа може прогнозувати відносні часові усунення між випадково обраними парами даних ЕЕГ. На думку авторів дослідження, такий метод підвищує ефективність навчання AI моделі порівняно з класичним підходом.
.jpg)
.jpg)
Датасет під назвою «Носимий пристрій для відстеження сну (EESM17)» включає згадку вушного моніторингу ЕЕГ за допомогою 12-канальної системи, що носиться. Не виключено, що у майбутньому відповідні датчики з'являться в одній із версій навушників AirPods.
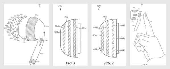
Ілюстрація з патенту 2023 року
Схожий патент Apple зареєструвала ще 2023-го, але він не включав «нейромережевих» подробиць. Офіційно про випуск навушників з функцією ЕЕГ компанія поки що не оголошувала.
Джерело: 9to5mac
Носимі пристрої
