Техногиганты на регулярной основе стараются патентовать те или иные технологии, те или иные разработки.

Следующий патент Apple, хотя и не связан с техникой, вызывает интерес. Дело в том, что купертиновцы запатентовали «Белый бумажный пакет, изготовленный из вторсырья с ручкой из бумажной пряжи круглой вязки».
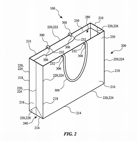
Документ зарегистрирован под номером 10259616 в Ведомстве по патентам и товарным знакам США. В нем описывается бумажный пакет прямоугольной формы с двумя ручками.
Конструкция пакета детально изображена на иллюстрациях к заявке, которых насчитывается около десятка. Как видно, «ручки из бумажной пряжи круглой вязки» могут свободно свисать вниз.
Источник: ixbt