Патент был подан в Государственное ведомство интеллектуальной собственности Китая и называется «гибкий механизм поддержки экрана и сворачиваемое электронное оборудование». Он имеют номер CN114439843A.
Патент описывает электронное устройство, которое имеет гибкую технологию отображения. В описании указано, что он будет иметь «простую структуру, небольшое пространство для хранения и может применяться к портативным устройствам».

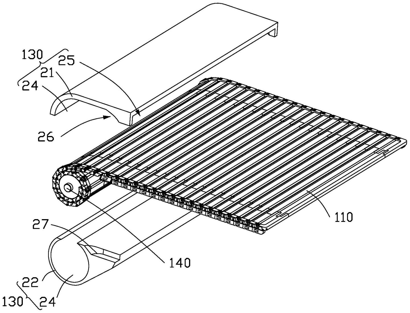
Примечательно, что структура, изображенная на эскизе патента, включает в себя вращающийся компонент. Он имеет механизм с вращающимся валом, который с обеих сторон закрыт защитным кожухом. Не совсем понятно, является ли сам процесс вращения автоматизированным или ручным.
На данный момент также неизвестно, является ли это запатентованное устройство смартфоном. Вполне вероятно, что продукт представляет собой своего рода портативный дисплей с маломощным чипсетом, предназначенный для ношения.
Имейте в виду, что это всего лишь патент, и у нас нет возможности подтвердить, действительно ли китайский технический гигант работает над массовым продуктом.
Источник: gizmochina
-1.png)


