
Одной из основных особенностей современных гаджетов является то, что они становятся все более популярными игровыми платформами, а это подталкивает разработчиков на усовершенствование их игровых функций и возможностей.
Компания Apple получила патент на интеграцию полноценного игрового джойстика прямо в кнопку Home. Заявка на регистрацию была подана в Бюро по регистрации патентов и торговых марок США еще летом 2013 года.
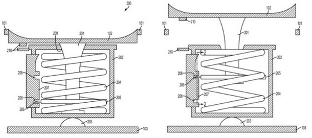
Патент описывает встроенную под кнопку Home пружину, которая активируется специальным нажатием. Таким образом, главный физический элемент управления смартфона будет выполнять сразу три функции — стандартный режим передачи команд операционной системе, идентификация пользователя по отпечатку пальца и управление игровым процессом для некоторых приложений.
То есть, в обычном режиме кнопка Home будет идентична той, которой пользуются владельцы последних моделей iPhone, но при необходимости она будет приподыматься над поверхностью корпуса на несколько миллиметров и выполнять функцию полноценного геймпада.
Данный подход позволит значительно оптимизировать геймплей шутеров, спортивных симуляторов и других игровых приложений, а также избавить мобильных геймеров от необходимости приобретения стороннего контроллера.