
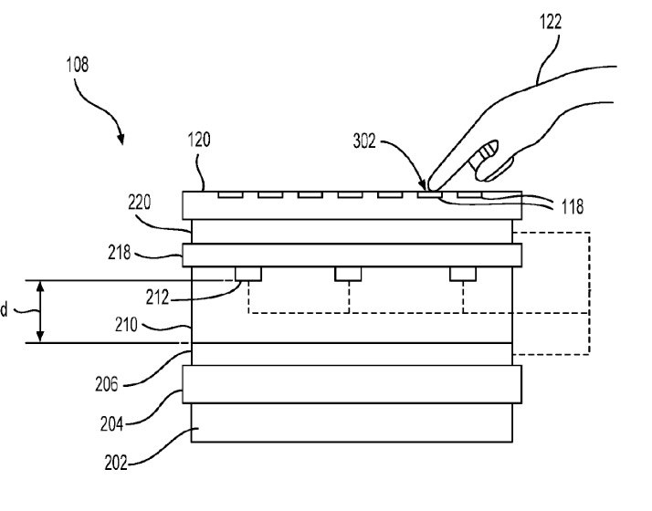
Патент Microsoft зарегистрирован под номером 20150130742. Он описывает технологию, позволяющую различать легкое прикосновение к сенсорной панели и нажатие с усилием.
Похожее решение уже используется в ноутбуках MacBook и «умных» часах Apple Watch и называется Force Touch. В портативных компьютерах Apple датчики следят за тем, насколько сильно нажимается трекпад, а привод Taptic Engine обеспечивает ощущение клика при нажатии в любой части поверхности. Благодаря этому можно выполнять различные действия в приложениях, используя одну рабочую поверхность.
В Microsoft уверены, что Force Touch в их реализации может найти применение не только в тачпадах ноутбуков или мобильных устройствах, но и в сенсорных клавиатурах типа планшетов Surface. Во время набора текста, к примеру, описанная система может отсеивать случайные нажатия на клавиши.
В отличие от технологии Apple, разработка Microsoft позволяет определять силу давления в нескольких точках касания к поверхности. В предложенных вариантах реализации используется емкостная сенсорная панель с несколькими наложенными друг на друга слоями электродов.