Сегодня стало известно, что патент, поданный южнокорейской компанией в своей стране, предполагает, что смартфон следующего поколения Galaxy S может поставляться со сканером отпечатков пальцев на передней панели.
В этом году Galaxy S8 получил встроенный сканер отпечатков пальцев на задней панели. Однако, мягко говоря, размещение датчика многих не впечатлило. Патент, о котором идет речь, был подан еще в 2016 году, но возможно, что Samsung может реализовать его в Galaxy S9 для решения проблем размещения сканера отпечатков пальцев.

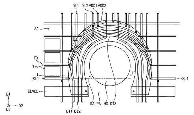
Изображение, включенное в патент, указывает, что внизу будет круглый разрез, в котором будет находиться датчик. Поэтому было бы интересно посмотреть, как пользователи будут реагировать на новый дизайн, если технический гигант решит пойти по этому пути.
Источник: GSMArena
-1.png)


