Компанія купувала пристрої конкурентів, що згинаються, і тестувала їх у суворих умовах — вони не витримували і швидко ламалися. Це викликало у купертинівців серйозні побоювання щодо довговічності складаних пристроїв, і проєкт вирішили призупинити.
Однак останній отриманий Apple патент від Управління з патентів та товарних знаків США (USPTO) спростовує закінчення розробки. Документ під назвою «Електрони з міцними складаними дисплеями» явно натякає на те, що компанія не відмовилася, а вирішила не ризикувати і розробити для складаного iPhone міцний та надійний гнучкий екран. Ця інформація побічно підтверджує ранній витік про дорожню карту, в рамках якої iPhone, що згинається, з'явиться не раніше 2026 року.
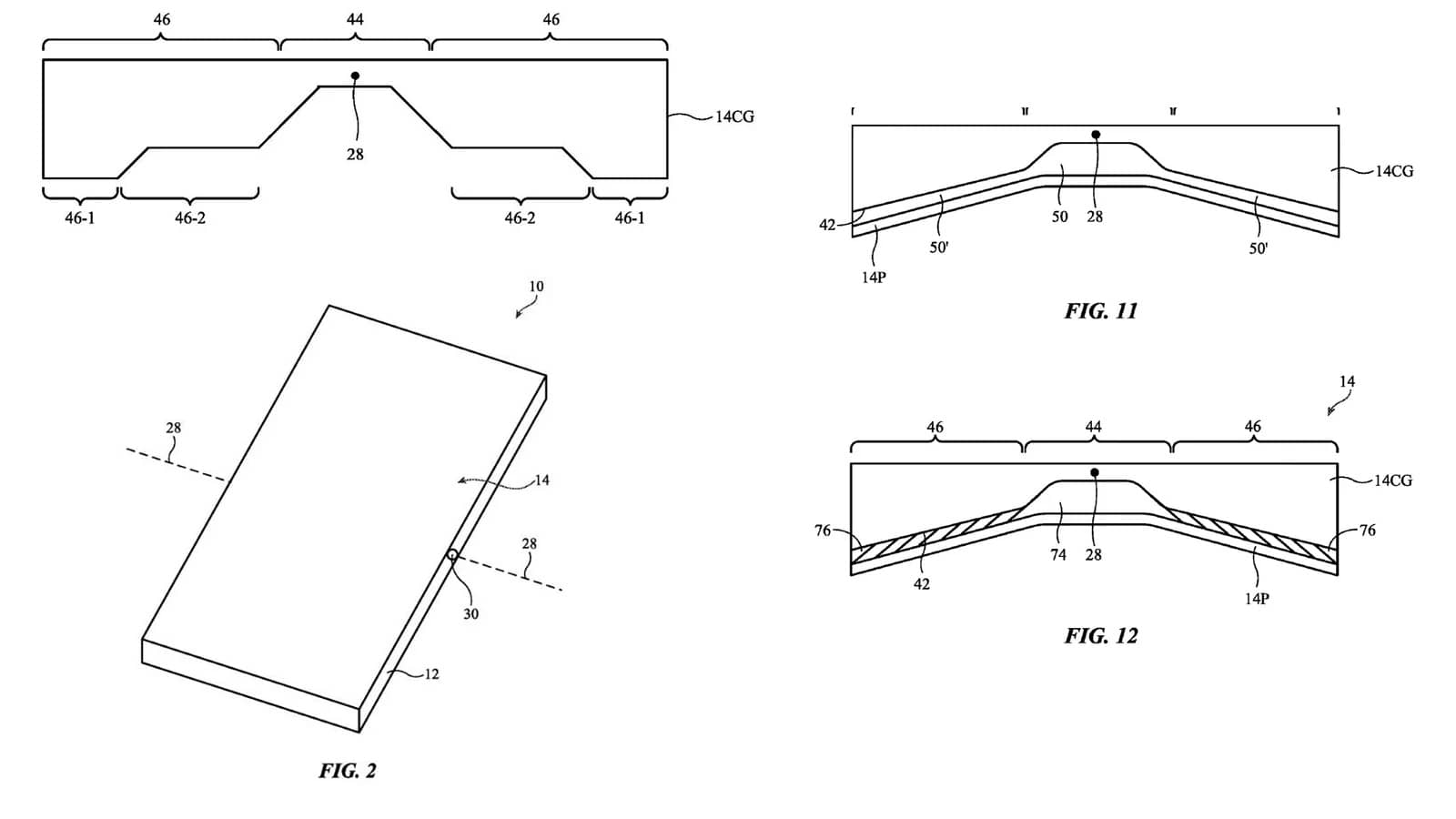
Схематичне зображення гнучкого екрану Apple джерело: USPTO
У новому патенті корпорація пропонує альтернативне рішення — композитну структуру з різною товщиною скла у різних частинах екрана. Так, по краях матриці скло має бути товщим, а ближче до місця вигину — тоншим. Це дозволить Apple вирішити відразу два питання: зміцнити дисплей по кутах і запобігти утворенню «зморшок» у місці згинання матриці.
Раніше повідомлялося, що складаний iPhone отримає зовнішній екран з діагоналлю 6 дюймів і внутрішній на 8 дюймів. Після вдалої реалізації смартфона з гнучким дисплеєм компанія може випустити й складаний планшет — iPad з внутрішнім екраном на 20 дюймів. За іншими даними, купертинівці планують у 2026 році представити складаний MacBook з варіантами екрана 18,8" та 20,3" — це в розкладеному стані. У складеному пристрій нагадуватиме класичний комп'ютер з діагоналями дисплея 15 і 13 дюймів відповідно. Поки що офіційно цю інформацію Apple не коментує.
Джерело: uspto
.png)

