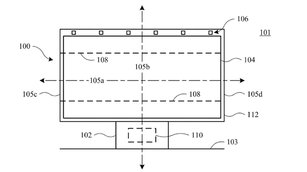
У мережі з'явилася патентна заявка компанії під назвою Display Device. У ній описується незвичайний спосіб налаштування фокусу гнучкого дисплея. Згідно з документом, згинання екрана відбуватиметься не вручну, а автоматично — за допомогою одного або кількох процесорів, керованих системою приводів та сенсорів. Ці компоненти будуть відстежувати розташування користувача та коригувати положення екрана для оптимального відображення зображення.
На представлених ілюстраціях пристрій зовні нагадує iMac із великим вигнутим дисплеєм. Такий екран може випрямлятися у плоский формат, якщо користувач змістився, та повертатися до вигнутої форми за потреби. Завдяки цьому досягається ідеальний кут огляду — зображення залишається чітким та спрямованим прямо на очі. У документі також зазначено, що конструкція матиме два режими гнучкості: один — для автоматичного налаштування, другий — для зручного транспортування.

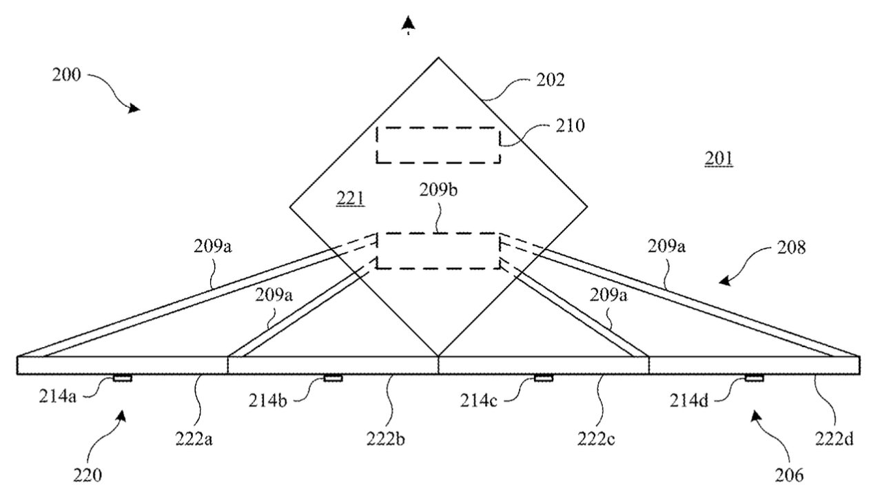
На схемі також показано потенційну конструкцію складання екрану, що дозволить зручно переміщати пристрій.

Як і в більшості подібних заявок, основний акцент зроблено на технічних деталях — описані типи сенсорів, приводи та можливе програмне керування елементами дисплея. Поки що немає підтверджень, що така технологія буде реалізована саме в iMac. Цілком можливо, що Apple готує подібні дисплеї для інших продуктів, наприклад пристроїв розумного будинку.
Джерело: appleinsider
.png)

