
Запатентований девайс отримав назву KICKSTAND FOR OPENING FOLDABLE COMPUTING DEVICE. У документі демонструється концепція складаного смартфона з підставкою, виконана в стилі Surface Pro.
Документ налічує 37 сторінок та детально описуються конструктивні рішення. Згідно з описом, смартфон передбачає наявність двох рамок — перша утримує основний екран, друга з'єднана з першою та містить вбудовану підставку. Остання є візитною карткою лінійки Surface Pro, що дозволяє використовувати пристрій як ноутбук або навіть як настільний ПК.
Microsoft планує застосувати той самий принцип до складаних телефонів. Ідея полягає в тому, щоб гаджет міг самостійно стояти на поверхні, а користувач за необхідності підключав клавіатуру та мишу, перетворюючи смартфон на робочу станцію. Такий сценарій відповідає філософії Surface як універсальної мобільної платформи, хоч стратегічні пріоритети компанії можуть змінюватися.
Конструкція включає вдосконалений шарнір та додаткові елементи: пружинний фіксатор або моторизований замок. У розкритому вигляді спеціальні магнітні пари стабілізують корпус та утримують його в робочому положенні.
Особливість розробки — можливість відкривання однією рукою, що дуже рідко зустрічається серед складаних моделей. Підставка, закріплена на другій рамці, робить зручним перегляд фільмів, читання чи відеодзвінки без необхідності тримати пристрій у руках. Це рішення вписується в концепцію Microsoft 365, яка орієнтована на гібридне використання гаджетів для роботи та відпочинку.
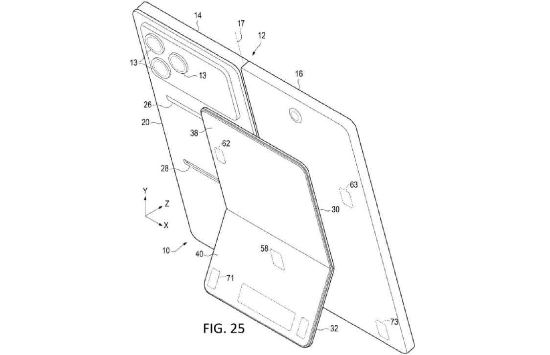
Судячи з креслень, підставка виконана з двох пластин: верхня натискається пальцем для активації, а нижня з'єднана шарніром і перетворюється на «ніжку». Система магнітів забезпечує плавний перехід у робоче положення, зміщуючи конструкцію ближче до шарніра та розподіляючи вагу пристрою. Завдяки цьому смартфон залишається стійким і не хитається на поверхні.
Джерело: windowslatest