Поки ми чекаємо на офіційну інформацію від компанії про новинку, яка, за чутками, називатиметься Galaxy Z TriFold, в базі патентного відомства KIPRIS з'явився документ, що підтверджує, що пристрій отримає три акумулятори.
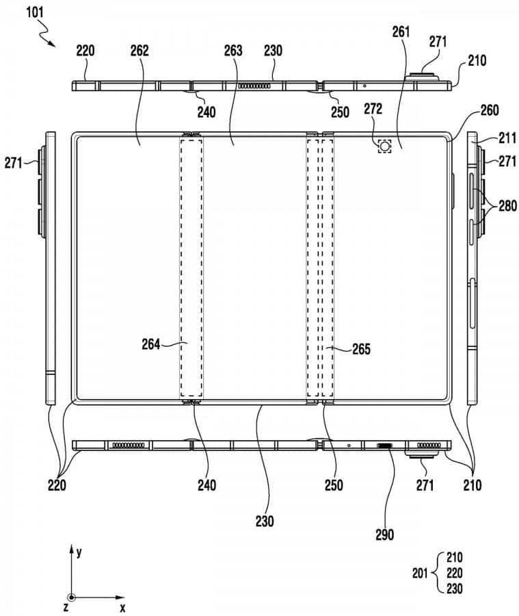
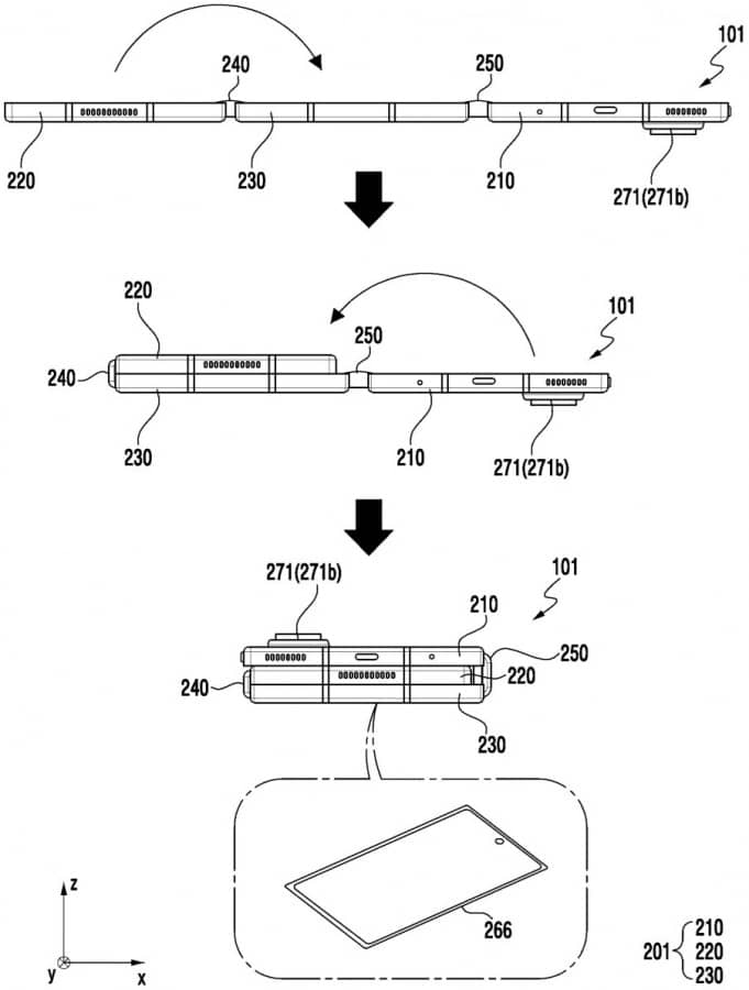
Так як смартфон має потрійну складану конструкцію, кожна з трьох секцій корпусу має власну батарею. На схематичному зображенні з патенту показано, що найменший акумулятор (T1) розташований у сегменті з потрійною основною камерою, другий за розміром (T3) — у частині, де знаходиться зовнішній дисплей, а найбільший елемент живлення (T2) поміщений в центральний модуль, який буде між двома іншими при складеному стані пристрою.
.jpg)
У документі не вказано ємність кожної батареї та загальну сумарну потужність, а також не уточнено швидкість заряджання. Однак очікується, що показники будуть вищими, ніж у Galaxy Z Fold7, який оснащувався порівняно невеликим акумулятором на 4400 мАг і підтримував лише 25-ватну провідну зарядку — помітно менше, ніж у конкурентів.
.jpg)
Раніше з'являлися чутки, що Galaxy Z TriFold продаватиметься тільки в Південній Кореї та Китаї, проте пізніше з'явилися повідомлення, що пристрій може вийти і на ринок США. За останніми даними, офіційний анонс очікується наприкінці жовтня.
Джерело: gsmarena
.png)

