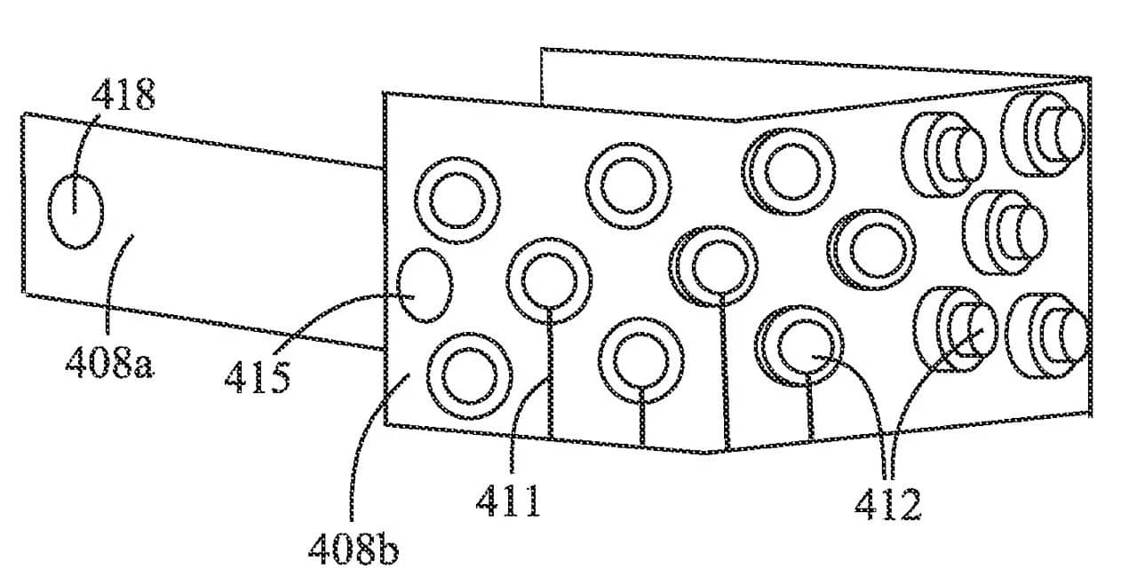
Згідно з даними про патент, розробка зможе збирати дані про роботу мозку та іншу активність організму. Для цього в стрічці, яка утримує гарнітуру на голові, розмістять безліч датчиків у районі потилиці. Наприклад, сенсори зможуть визначати температуру тіла, вимірювати пульс та тиск і навіть проводити електроенцефалографію (ЕЕГ).
Зображення датчиків Apple Vision Pro із патенту. Джерело: Apple Insider
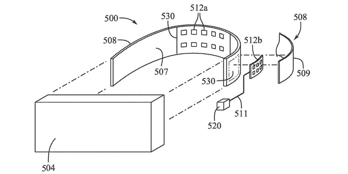
Отриману інформацію пристрій зможе використовувати для покращення життя власника. Датчики можна налаштувати для спостереження за областями мозку, пов'язаними з пам'яттю, сном, болем, стресом та іншими особливостями. Передбачається, що дані, наприклад, можна буде передавати до програм для керованої медитації. Залежно від мозкової активності змінюватиметься звуковий чи візуальний супровід.
Поки що немає жодних даних про те, коли Apple покращить роботу своєї гарнітури за допомогою нових датчиків. Першу версію Apple Vision Pro випустили на початку лютого. Очікується, що наступна модель з'явиться щонайменше за півтора року.
Зображення датчиків Apple Vision Pro із патенту. Джерело: Apple Insider
Раніше Apple розповіла, що планувала зробити смарт-годинник Apple Watch сумісним із пристроями на операційній системі Android. Про це компанія сказала у відповідь на звинувачення у монополії.
Джерело: appleinsider
.png)

