Бюро патентов и торговых марок США выдало компании Apple патент №9142925, заявка на регистрацию которого была подана в мае 2011 года.
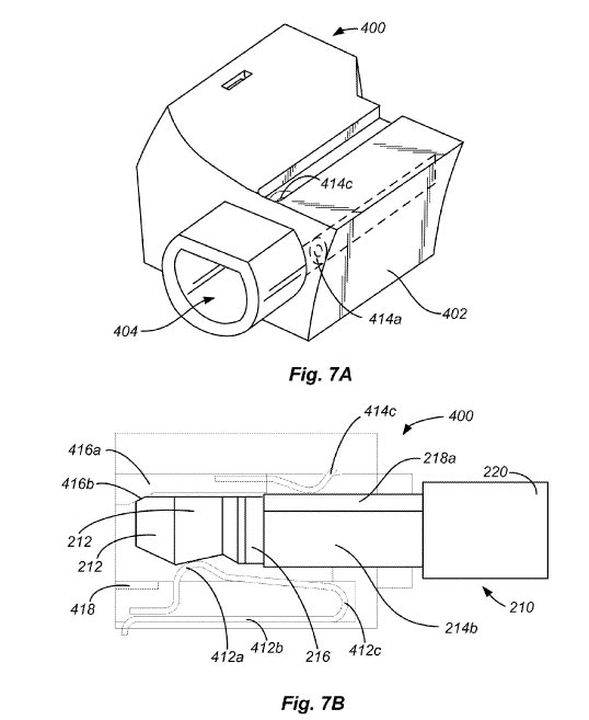
Патент описывает новый звуковой разъем, который напоминает разъем TRS, однако имеет продольный срез на боковой поверхности.
Разработчики полагают, что такая форма позволит сделать разъем компактнее. Кроме того, он обеспечивает «плавное равномерное ощущение» при подключении и отключении.

Согласование ориентации разъема на кабеле и его приемной части названо авторами разработки «интуитивным».
Разъем может быть короче, чем стандартный разъем TRS диаметром 3,5 мм, а часть его может быть изготовлена из гибкого материала.
Теги:
Apple
-1.png)


